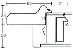
【同志舎】油彩額 レインボー(銀) 50号(F,P,M型)[油絵・日本画用額縁]

カラー:銀
マット色:ベージュ
入子:銀
F、P、M型(プルダウンより選択してください)
カバー:アクリル入り
※P、M型は受注生産品となります。納期までに6週間ほどかかります。
【同志舎 油絵用額縁】油彩額 レインボー

※写真だとわかりずらいですが少し緑がかった感じになります。
【同志舎 油絵用額縁】油彩額 レインボー(銀)【同志舎 油絵用額縁】油彩額 レインボー(銀)

【同志舎】油彩額 レインボー(銀) 50号(F,P,M型)[油絵・日本画用額縁]

価格:

50,160円 (税込)

型:
購入数:
この商品について問い合わせる
友達にメールですすめる

ページトップへ